


| 型号 | 安 装 尺 寸 | 轴 伸 尺 寸 | 外 形 尺 寸 | ||||||||||
| H0 |
B0
A0
|
C0
a2
|
a3
q
|
A1
d0
|
d | L | S |
b
t
|
B
H
|
L1
h
|
W
h1
|
A
C
|
|
| K37 | 100 |
100
110
|
115
28
|
32
63
|
10
11
|
25k6 | 50 | M10 |
8
28
|
120
165
|
198
16
|
110
7
|
150
145
|
| K47 | 112 |
120
130
|
130
35
|
37
71
|
15
11
|
30k6 | 60 | M10 |
8
33
|
145
186
|
238
18
|
135
6.3
|
165
170
|
| K67 | 140 |
140
120
|
160
30
|
45
90
|
21
13.5
|
40k6 | 80 | M16 |
12
43
|
170
228
|
251
24
|
171
20
|
175
203
|
| K77 | 180 |
165
150
|
200
40
|
55
112
|
23.5
18
|
50k6 | 100 | M16 |
14
53.5
|
200
288
|
296
27
|
206
31.3
|
205
263
|
| K87 | 212 |
180
180
|
233
55
|
70
132
|
30
22
|
60m6 | 120 | M20 |
18
64
|
230
340
|
352
32
|
240
25.9
|
255
311
|
| K97 | 265 |
240
240
|
295
75
|
75
160
|
31
26
|
70m6 | 140 | M20 |
20
74.5
|
290
414
|
362
36
|
291
32.3
|
320
372
|
| K107 | 315 |
270
280
|
360
95
|
95
200
|
42
33
|
90m6 | 170 | M24 |
25
95
|
340
508
|
448
40
|
347
31.3
|
390
455
|
| K127 | 375 |
330
350
|
420
115
|
110
225
|
43
39
|
110m6 | 210 | M24 |
28
116
|
400
592
|
490
45
|
418
57.2
|
460
526
|
| K157 | 450 |
420
380
|
500
140
|
130
280
|
37
39
|
120m6 | 210 | M24 |
32
127
|
500
705
|
536
50
|
457
77
|
495
634
|


| 型 号 | 安 装 尺 寸 | 轴 伸 尺 寸 | 外 形 尺 寸 | ||||||||||||
| H0 |
B0
A0
|
C0
a2
|
a3
q
|
d0 |
d
(H7)
|
b
t
|
L2 | M |
B
L1
|
H |
W
f4
|
h1 |
A
C
|
h | |
| KA127 | 375 |
330
350
|
420
115
|
110
225
|
39 | 100 |
28
106.4
|
370 | 用户自配 |
400
490
|
505 |
205
2.5
|
57.2 |
460
526
|
45 |
| KA157 | 450 |
420
380
|
500
140
|
130
280
|
39 | 120 |
32
127.4
|
457 |
500
536
|
705 |
250
6
|
77 |
495
634
|
50 | |
注:箱体与K型相同。
KAB47、KAB67、KAB77、KAB87、KAB97、KAB107、KAB127、KAB157、系列螺旋锥齿轮减速机外形及安装尺寸(Q/ZTB 06-2001)


KAB型减速器主要尺寸 /mm
| 型 号 |
d
(H7)
|
f4 | A1 | L2 | W | t | b | M |
| KAB47 | 35 | 3 | 15 | 130 | 75 | 38.3 | 10 |
用
户
自
配
|
| KAB67 | 40 | 3.5 | 20 | 156 | 90 | 43.3 | 12 | |
| KAB77 | 50 | 4 | 22.5 | 183 | 105 | 53.8 | 14 | |
| KAB87 | 60 | 4 | 30 | 210 | 120 | 64.4 | 18 | |
| KAB97 | 70 | 4 | 30 | 270 | 150 | 74.9 | 20 | |
| KAB107 | 90 | 2.5 | 40 | 310 | 175 | 95.4 | 25 | |
| KAB127 | 同KA | |||||||
| KAB157 | 同KA | |||||||


| 型号 | D | C1 | H | D1 | f0 | H0 | i2 | W | L1 | S | t | d0 | I | b | h1 |
D2
(h7)
|
d |
| KF37 | 160 | 10 | 165 | 130 | 3.5 | 100 | 50 | 134 | 198 | M10 | 28 | 4-ø9 | 50 | 8 | 7 | 110 | 25k6 |
| KF47 | 200 | 12 | 186 | 165 | 3.5 | 112 | 60 | 160 | 238 | M10 | 33 | 4-ø9 | 60 | 8 | 6.3 | 130 | 30k6 |
| KF67 | 250 | 15 | 228 | 215 | 4 | 140 | 80 | 193 | 251 | M16 | 43 | 4-ø13.5 | 80 | 12 | 20 | 180 | 40k6 |
| KF77 | 300 | 16 | 288 | 265 | 4 | 180 | 100 | 242 | 296 | M16 | 53.5 | 4-ø13.5 | 100 | 14 | 31.3 | 230 | 50k6 |
| KF87 | 350 | 18 | 340 | 300 | 5 | 212 | 120 | 270 | 352 | M20 | 64 | 4-ø18 | 120 | 18 | 25.9 | 250 | 60m6 |
| KF97 | 450 | 22 | 414 | 400 | 5 | 265 | 140 | 332 | 262 | M20 | 74.5 | 8-ø18 | 140 | 20 | 32.3 | 350 | 70m6 |
| KF107 | 450 | 22 | 505 | 400 | 5 | 315 | 170 | 386 | 448 | M24 | 95 | 8-ø18 | 170 | 25 | 53.5 | 350 | 90m6 |
KF127、KF157系列螺旋锥齿轮减速机外形及安装尺寸(Q/ZTB 06-2001)
| 型号 | D | C1 | H | D1 | f0 | H0 | i2 | W | L1 | S | b | t | d0 | I | h1 |
D2
(h7)
|
d
(m6)
|
| KF127 | 550 | 25 | 592 | 500 | 5 | 375 | 210 | 466 | 490 | M24 | 28 | 116 | 8-ø18 | 210 | 57.2 | 450 | 110 |
| KF157 | 660 | 28 | 705 | 600 | 6 | 450 | 210 | 520 | 536 | M24 | 32 | 127 | 8-ø22 | 210 | 77 | 550 | 120 |


KAF型减速器主要尺寸 /mm
| 型 号 | D | C1 | D1 | f0 | i2 | W | t | d0 | L2 | b |
D2
(h7)
|
d
(H7)
|
M |
| KAF37 | 160 | 10 | 130 | 3.5 | 24 | 60 | 33.3 | 4-ø9 | 107 | 8 | 110 | 30 |
用
户
自
配
|
| KAF47 | 200 | 12 | 165 | 3.5 | 25 | 75 | 38.3 | 4-ø9 | 130 | 10 | 130 | 35 | |
| KAF67 | 250 | 15 | 215 | 4 | 23 | 90 | 43.3 | 4-ø13.5 | 156 | 12 | 180 | 40 | |
| KAF77 | 300 | 16 | 265 | 4 | 37 | 105 | 53.8 | 4-ø13.5 | 183 | 14 | 230 | 50 | |
| KAF87 | 350 | 18 | 300 | 5 | 30 | 120 | 64.4 | 4-ø18 | 210 | 18 | 250 | 60 | |
| KAF97 | 450 | 22 | 400 | 5 | 41.5 | 150 | 74.9 | 8-ø18 | 270 | 20 | 350 | 70 | |
| KAF107 | 450 | 22 | 400 | 5 | 41 | 175 | 95.4 | 8-ø18 | 310 | 25 | 350 | 90 | |
| KAF127 | 550 | 25 | 500 | 5 | 51 | 205 | 106.4 | 8-ø18 | 370 | 28 | 450 | 100 | |
| KAF157 | 660 | 28 | 600 | 6 | 60 | 250 | 127.4 | 8-ø22 | 457 | 32 | 550 | 120 |
KAT37、KAT47、KAT67、KAT77、KAT87、KAT97、KAT107、KAT127、KAT157、系列螺旋锥齿轮减速机外形及安装尺寸(Q/ZTB 06-2001)


KAT 型减速器主要尺寸 /mm
| 型号 | α4 | β | C8 | i | P | R | H0 | d1 | L1-0.3 | L2 |
| KAT37 | 23.5 | 60’ | 10 | 20 | 140 | 22.5 | 100 | 10.4±0.1 | 36 | 31 |
| KAT47 | 30 | 55’ | 12 | 20 | 160 | 22.5 | 112 | 10.4±0.1 | 36 | 31 |
| KAT67 | 45 | 55’ | 13 | 25 | 200 | 29 | 140 | 16.4±0.08 | 60 | 54 |
| KAT77 | 52.5 | 60’ | 14 | 25 | 250 | 29 | 180 | 16.4±0.08 | 60 | 54 |
| KAT87 | 60 | 60’ | 16 | 30 | 300 | 41 | 212 | 25±0.08 | 80 | 72 |
| KAT97 | 70 | 50’ | 17 | 40 | 350 | 41 | 265 | 25±0.08 | 100 | 92 |
| KAT107 | 74 | 55’ | 20 | 45 | 450 | 41 | 315 | 25±0.08 | 100 | 92 |
| KAT127 | 60 | 65’ | 45 | 7 | 550 | 70 | 375 | 40±0.08 | 126 | 110 |
| KAT157 | 50 | 70’ | 45 | 2 | 700 | 70 | 450 | 40±0.08 | 126 | 110 |
KS37、KS47、KS67、KS77、KS87、KS97、KS107、KS127、KS157、系列螺旋锥齿轮减速机外形及安装尺寸(Q/ZTB 06-2001)


KS型减速器主要尺寸 /mm
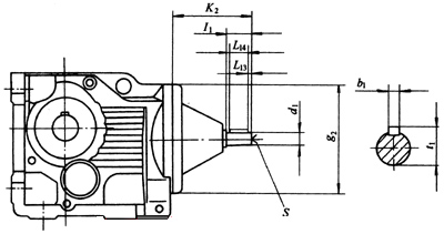
| 型号 | d1 | g2 | K2 | I1 | S | L13 | L14 | t1 | b1 |
| KS37 | 16k6 | 120 | 115 | 40 | M5 | 4 | 32 | 18 | 5 |
| KS47 | 19k6 | 160 | 120 | 40 | M6 | 4 | 32 | 21.5 | 6 |
| KS67 | 19k6 | 160 | 120 | 40 | M6 | 4 | 32 | 21.5 | 6 |
| KS77 | 24k6 | 200 | 140 | 50 | M8 | 5 | 40 | 27 | 8 |
| KS87 | 28k6 | 250 | 180 | 60 | M10 | 5 | 50 | 31 | 8 |
| KS97 | 38k6 | 300 | 220 | 80 | M12 | 5 | 70 | 41 | 10 |
| KS107 | 42k6 | 350 | 270 | 110 | M16 | 10 | 70 | 45 | 12 |
| KS127 | 55m6 | 450 | 297 | 110 | M20 | 10 | 90 | 59 | 16 |
| KS157 | 70m6 | 550 | 374 | 140 | M20 | 15 | 110 | 74.5 | 20 |
| 规格 | 37 | 47 | 67 | 77 | 87 | 97 | 107 | 127 | 157 |
| 结构形式 | K、KA、KAB、KF、KAF、KAT | ||||||||
| 输入功率/kW | 0.12~3 | 0.12~3 | 0.25~5.5 | 0.37~11 | 0.75~22 | 1.1~30 | 3~45 | 7.5~90 | 11~160 |
| 传动比 | 5.29~106.49 | 6.41~135.08 | 7.2~147.72 | 7.37~197.03 | 7.4~181.68 | 8.89~150.80 | 8.64~144.58 | 8.72~146.40 | 12.81~149.81 |
| 许用转矩/N·m | 185 | 385 | 680 | 1380 | 2560 | 3990 | 6840 | 11400 | |

江苏重泰减速机有限公司
采购 泰兴减速机 请选择重泰减速机有限公司(原 泰兴减速机总厂)
全国咨询电话: 400-710-9918 传真:0510-80212333/85516654/85508340
座机:0510-80212111/80212555/80210978/85519221/85518416/85511836
邮箱:1051532995@qq.com 地址:无锡市解放北路16号